ہمیں ای میل کریں
مصنوعات
3V2 سولینائڈ والو 3 راستہ
  • 3V2 سولینائڈ والو 3 راستہ3V2 سولینائڈ والو 3 راستہ
  • 3V2 سولینائڈ والو 3 راستہ3V2 سولینائڈ والو 3 راستہ

3V2 سولینائڈ والو 3 راستہ

مندرجہ ذیل 3V2 سولینائڈ والو 3 وے کا تعارف ہے ، او ایل کے کو امید ہے کہ آپ کو 3V2 سولینائڈ والو 3 وے کو بہتر طور پر سمجھنے میں مدد ملے گی۔ نئے اور پرانے صارفین کا خیرمقدم کریں کہ وہ ایک ساتھ بہتر مستقبل بنانے کے لئے ہمارے ساتھ تعاون جاری رکھیں۔

3V2 سولینائڈ والو چھوٹا ، ہلکا اور انسٹال کرنے میں آسان ہے۔ اس کا جسم مضبوط ایلومینیم سے بنا ہے ، جو زنگ اور نقصان کی مخالفت کرتا ہے۔ والو DC12V ، DC24V ، AC110V ، یا AC220V پاور کے اختیارات کے ساتھ ایک قابل اعتماد سولینائڈ کنڈلی کا استعمال کرتا ہے۔

یہ OLK برانڈ 3V2 سولینائڈ والو درمیانے بہاؤ ایئر کنٹرول کے لئے اچھی طرح سے کام کرتا ہے۔ یہ جلدی سے سوئچ کرتا ہے ، تھوڑی سی طاقت کا استعمال کرتا ہے ، اور ایک طویل وقت تک جاری رہتا ہے۔ یہ عام طور پر بند (NC) ، عام طور پر کھلا (نہیں) ، یا ڈبل ​​سولینوائڈ ہوسکتا ہے۔ یہ اکثر آٹومیشن لائنوں ، پیکیجنگ مشینوں ، پرنٹنگ مشینوں اور فوڈ مشینوں میں استعمال ہوتا ہے۔ اس کا چھوٹا سائز اسے تنگ جگہوں کے ل perfect بہترین بناتا ہے۔

3V2 سولینائڈ والو 3 وے مصنوعات کی خصوصیت

1. حساس سوئچنگ کے ساتھ براہ راست اداکاری کا ڈھانچہ۔

2. نارمل طور پر بند (این سی) اور عام طور پر کھلی (نہیں) اقسام دستیاب ہیں۔

3. اچھے سگ ماہی اور بڑے بہاؤ کے لئے کوکسی شٹ آف ڈیزائن۔

4. کوئی چکنا کرنے کی ضرورت نہیں ہے۔

5. آسان تنصیب اور جانچ کے ل a دستی اوور رائڈ کے ساتھ مطابقت رکھتا ہے۔

6. معیاری وولٹیج کے اختیارات دستیاب ہیں۔

3V2 والو علامت:

آرڈر کوڈ

3V

2

-

08

این سی

A

 

 

 

ماڈل

کوڈ

 

 بندرگاہ کا سائز

اداکاری کی قسم

معیاری وولٹیج

بجلی کا اندراج

تھریڈ کی قسم

 

3V: 2 پوزیشن 3 راستہ

2: 2 سیریز

 

06: G1/8

این سی: عام طور پر بند

A: AC220V

خالی: آپ کی قسم

خالی: جی

 

 

 

 

08: G1/4

نہیں: عام طور پر کھلا

بی: ڈی سی 24 وی

میں: لائن کی قسم

ٹی: این پی ٹی

 

 

 

 

 

 

C: AC110V

 

 

 

 

 

 

 

 

E: AC24V

 

 

 

 

 

 

 

 

F: DC12V

 

 

 


ماڈل

3V206

3V208

کام کرنے والا میڈیم

ہوا (40 μm یا اس سے اوپر کے فلٹر کے ذریعہ فلٹر)

ہوا (40 μm یا اس سے اوپر کے فلٹر کے ذریعہ فلٹر)

اداکاری کی قسم

براہ راست اداکاری

بندرگاہ کا سائز

G1/8

G1/4

پوزیشن اور راستہ

2 پوزیشن 3 راستہ

موثر علاقہ

3.2 ملی میٹر (CV = 0.18)

3.4 ملی میٹر (CV = 0.19)

چکنا

ضرورت نہیں ہے

آپریٹنگ پریشر کی حد

0 ~ 0.8 MPa (0 ~ 114 PSI)

ثبوت دباؤ

1.5 ایم پی اے (215 پی ایس آئی)

آپریٹنگ درجہ حرارت (℃)

-20 ~ 70

جسمانی مواد

ایلومینیم کھوٹ

 

AC : ± 15 ٪ DC: ± 10 ٪

AC220V AC110 AC24V DC24V DC12V

وولٹیج کی حد

AC : ± 15 ٪ DC: ± 10 ٪

بجلی کی کھپت

AC: 7VA DC: 7.0W

تحفظ کلاس

IP65 (DIN40050)

موصلیت گریڈ

بی لیول

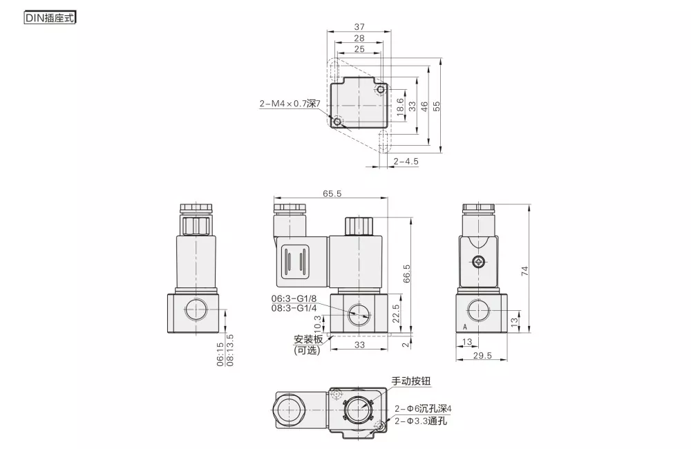
جڑنے کی قسم

नए एमबीएल और पुराने एमएएल संस्करणों के बीच क्या अंतर हैं?

min.excation وقت

0.05 سیکنڈ


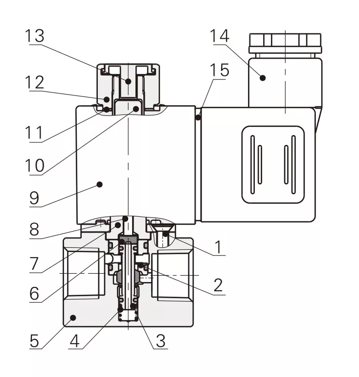
کارڈ

نام

1

کاؤنٹرکونک سکرو

2

اسپیسر آستین

3

بنیادی اسمبلی

4

بہار

5

جسم

6

گاسکیٹ

7

سولینائڈ اسمبلی

8

پلنجر چھڑی

9

کوئل

10

آئرن کور کو منتقل کرنا

11

فکسڈ واشر

12

فکسڈ نٹ

13

دستی بٹن

14

ٹرمینل

15

ٹرمینل گسکیٹ


آئٹم

اداکاری کی قسم

2V025-06/2V025-08

3V2-06/3V2-08

3V3-08

کام کرنے والا میڈیم

ہوا

ہوا ، پانی ، تیل

ہوا

ہوا

ابتدائی حالت:

این سی

این سی/نہیں

نہیں/این سی

نہیں/این سی

ایکٹیویشن کی قسم

براہ راست اداکاری

براہ راست اداکاری

براہ راست اداکاری

براہ راست اداکاری

بندرگاہ کا سائز

M5 ؛ G1/8

G1/8 ؛ G1/4

G1/8 ؛ G1/4

G1/4

پوزیشن اور راستہ

3 پورٹ 2 پوزیشن

2 پورٹ 2 پوزیشن

3 پورٹ 2 پوزیشن

3 پورٹ 2 پوزیشن

چکنا

ضرورت نہیں ہے

ضرورت نہیں ہے

ضرورت نہیں ہے

ضرورت نہیں ہے

ورکنگ پریشر

0–0.7 MPa

0–0.7 MPa

0–0.8 MPa

0–0.8 MPa

ثبوت دباؤ

1.2 ایم پی اے

1.5 ایم پی اے

1.2 ایم پی اے

1.2 ایم پی اے

orifice سائز

.21.2 ملی میٹر

.52.5 ملی میٹر

.23.2 ملی میٹر/φ3.4 ملی میٹر

φ11 ملی میٹر (ہوا کا بڑا بہاؤ)


عمومی سوالنامہ:

س: 3V2 اور 3V3 سولینائڈ والو کے درمیان اہم کیا ہے؟

A: 3V2: درمیانی بہاؤ ، چھوٹے نیومیٹک کنٹرول سسٹم کے لئے سوٹ

3V3: اعلی بہاؤ ، ایک سے زیادہ سلنڈروں یا اعلی بہاؤ کی ایپلی کیشنز کے لئے سوٹ۔

ساخت کا فرق: 3V3 کا جسم بڑا ہوتا ہے اور وہ زیادہ دباؤ اور بہاؤ کو سنبھال سکتا ہے۔


س: 3V2 سولینائڈ والو اوریفیس سائز کیا ہے؟

A: 3V2-06 والو orifice سائز 3.2 ملی میٹر ہے ؛ 3V2-06 والو اوریفیس سائز 3.4 ملی میٹر ہے


س: OLK 3V2 کون سی مصنوعات کی جگہ لے سکتی ہے؟

A: OLK 3V2 AIRTAC 3V2 سیریز سولینائڈ والوز کو اسی فنکشن اور اسی طرح کی خصوصیات کے ساتھ تبدیل کرسکتا ہے۔


ہاٹ ٹیگز: 3V2 سولینائڈ والو 3 وے ، چین ، کارخانہ دار ، سپلائر ، فیکٹری
انکوائری بھیجیں۔
رابطہ کی معلومات
  • پتہ

    ژینگٹائی روڈ ، زینگنگ انڈسٹریل زون ، لیوشی ، ییوکنگ ، وینزہو ، جیانگ ، چین۔

  • ٹیلی فون

    86-0577 57178620

  • ای میل

    cici@olkptc.com

ہماری ویب سائٹ پر خوش آمدید! ہماری مصنوعات یا قیمت کی فہرست کے بارے میں پوچھ گچھ کے لئے، براہ کرم ہمیں اپنا ای میل چھوڑ دیں اور ہم 24 گھنٹوں کے اندر رابطے میں رہیں گے۔
ای میل
cici@olkptc.com
ٹیلی فون
86-0577 57178620
موبائل
+86-13736765213
پتہ
ژینگٹائی روڈ ، زینگنگ انڈسٹریل زون ، لیوشی ، ییوکنگ ، وینزہو ، جیانگ ، چین۔
X
ہم آپ کو براؤزنگ کا بہتر تجربہ پیش کرنے ، سائٹ ٹریفک کا تجزیہ کرنے اور مواد کو ذاتی نوعیت دینے کے لئے کوکیز کا استعمال کرتے ہیں۔ اس سائٹ کا استعمال کرکے ، آپ کوکیز کے ہمارے استعمال سے اتفاق کرتے ہیں۔ رازداری کی پالیسی
مسترد قبول کریں